41 john deere 160 belt diagram
PDF cyltab | Deere Power Systems Group OMRG25204 (20MAY96) | Forum JOHN DEERE ENGINE OWNER: Don't wait until you need warranty or other service to meet your local John Deere Engine Distributor or Service Dealer. Learn who he is and where he is. At your rst convenience, go meet him. He'll want to get to know you and to learn what your needs might be. How to Put a Belt on a John Deere 160 Riding Mower | eHow The John Deere 160 riding lawnmower uses a double blade mowing deck for cutting grass. The blades spin due to a series of pulleys mounted to the topside of the mower deck. The pulleys have a serpentine belt that attaches to a drive pulley mounted to the bottom of the engine. As the belt ages...
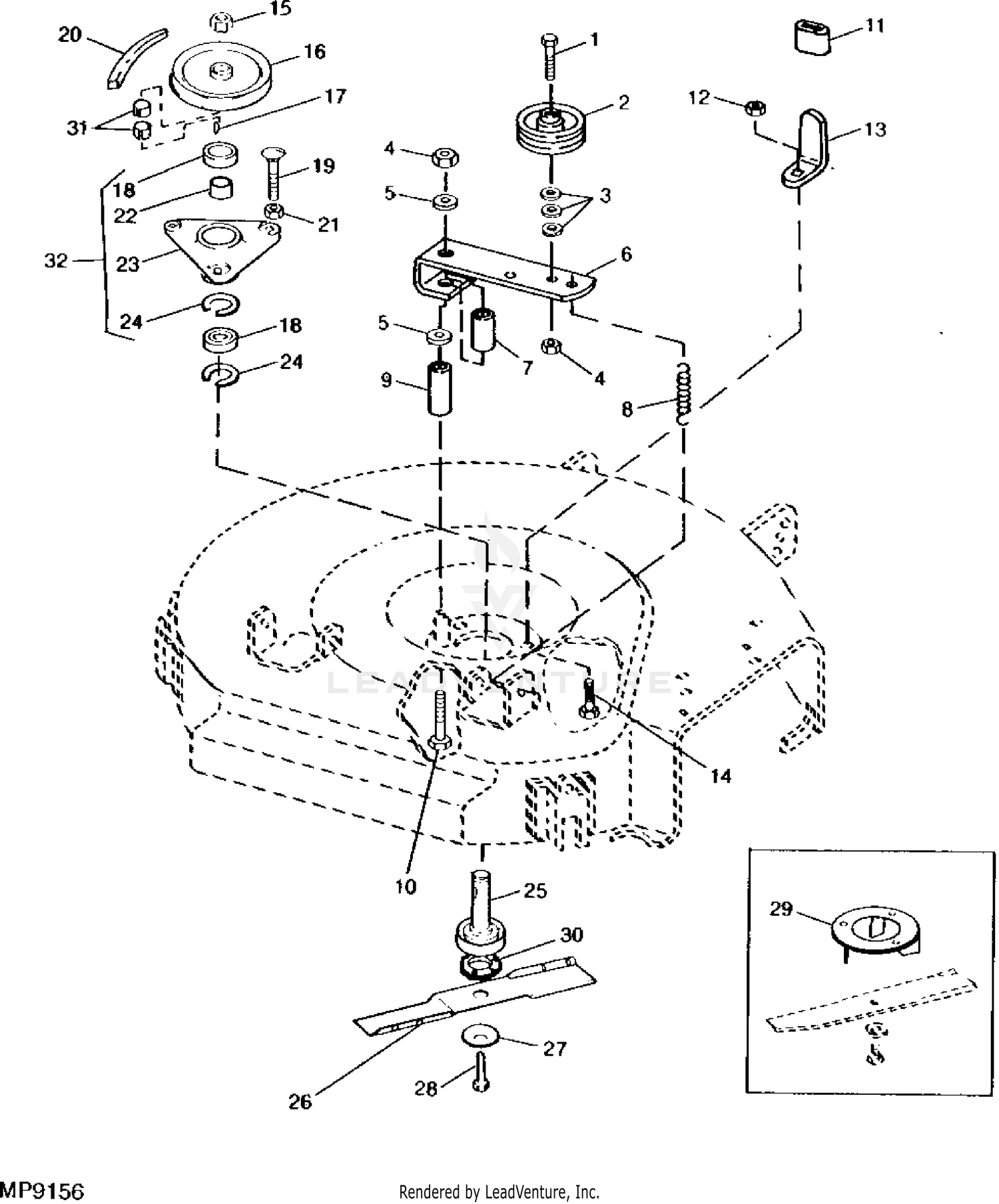
John Deere Parts Diagrams John Deere & Company was founded in 1837. It has grown from a blacksmith shop with only one person to a group company that now sells in more than 160 countries around the world and employs approximately 37,000 people Illustrated diagrams included in the John Deere service manual PDF.
John deere 160 belt diagram
PDF John Deere 160 Belt Diagram Manual John Deere LT160 Auto Drive Belt - out doorpowerinfo.com Buy Genuine OEM John Deere parts for your John Deere LT160 LAWN TRACTOR and ship today! john deere 160 lawn tractor parts diagram complete with the description of the image, please find the image you need. John Deere 160 Lawn Tractor Belt Diagram 9 Images - Sabre John... John Deere 160 Lawn Tractor Belt Diagram. Here are a number of highest rated John Deere 160 Lawn Tractor Belt Diagram pictures on internet. We identified it from reliable source. Its submitted by dealing out in the best field. videopsiche.it 24/02/2022 · [email protected] Zero turn mowers vary in price based on their size, grade, and other features, but you can typically expect to spend between ,500 and ,000. Yes, by using this method you can adjust the steering of all similar models like the Husqvarna, Troy Bilt, Toro, and Cub Cadet zero-turn mowers. 7 to 3.
John deere 160 belt diagram. John Deere 160 Belt Diagram - Free Catalogs A to Z Category: John deere d160 belt diagram Show details. John Deere Parts Diagrams, John Deere D160 100 Series. 3 hours ago Does anyone have a john deere 160 deck belt diagram that they can send me a piece broke on mine and I can make it myself but I need to know exactly what it looks like. 160 Wiring Diagram | Garden Tractor Forums 160 Wiring Diagram. Jump to Latest Follow. ' need a wiring diagram for a John Deere 160 mower. John Deere Lt160 Drive Belt Diagram - Free Wiring Diagram Belt john lt166 traction belt diagram john deere part m126009 lt160 drive belt size. The blades spin due to a series of pulleys mounted to the topside of the I have not been able to find an instructions on line that will help me do the job. John deer 310sg rear drive shaft yoke at transmition side broke as it... John Deere Lt160 Drive Belt Diagram - Wiring Diagram Database Thank you john deere lt155 drive belt diagram. John deere lt160 mower deck replacement is one of the best gallery pictures in house of price. The drive belt on the john deere lt160 is difficult to access as it is located behind the engine. Home depot customers questions and answers for john deere 42.
John Deere 160 lawn and garden tractor: review and specs - Tractor... The John Deere 160 tractor used an air-cooled single-cylinder four-stroke Kawasaki FB460V gasoline engine with vertical PTO shaft. The FB460V engine has an L-head design with two valves; transistorized flywheel magneto ignition system... John Deere 132 BELT PICKUP WITH PLATFORM parts catalog John Deere Wiring Schematic Diagrams.pdf. 414.4kb. John Deere 7721 COMBINE WITH BELT PICKUP AND PICKUP PLATFORM parts catalog. John Deere Parts Diagrams, John Deere 160 LAWN TRACTOR... Huge in-stock inventory of OEM John Deere parts. 130,160 electromagnetic PTO clutch ogura: electrical. 165 belt drive & idler: power train. TM1662 - John Deere 160LC Excavator Service Repair Technical... Illustrated Factory Service Repair Technical Manual for John Deere Excavator 160LC This manual contains high quality images, instructions to help you to troubleshoot, and repair your truck. This is repair only manual, Diagnostic Manual with electrical wiring diagrams are sold separate.
You are looking for a John Deere 160 belt diagram for a 38 mower... John Deere LA130 Mower Belt Diagram 48 inch? The John Deere LA130 is a model of riding lawnmower produced by the John Deere Company. The John Deere 48 mower deck belt pattern diagram can be obtained from most John Deere dealerships. Many times when you purchase the... 129 John Deere Service Repair Manuals PDF... | Truckmanualshub.com John Deere tractors, combines & lawn mowers service repair manuals, spare parts catalogs and wiring diagrams. John Deere 7721 COMBINE WITH BELT PICKUP AND PICKUP PLATFORM parts catalog.pdf. Riding Mower Deck Belt Diagrams DIY Repair Manual AYP... - YouTube Riding Mower Deck Belt Diagrams DIY Repair Manual AYP - MTD, John Deere, Sears Craftsman. E170 John Deere Belt Diagram John Deere D170 drive belt replaced at 96 hours #johndeere #belt #l8rhp. Drive Belts John Deere 160 and 170 180 Series mower. THEKING SILVERADO. tinyurl.com/deck-belt-diagrams Riding Mower Deck Belt Diagrams and pictures for AYP, MTD, Craftsman, John Deere, Toro
80's era Deere 160 drive belt diagram | My Tractor Forum Looking for a diagram for an 80s era John Deere 160 drive belt. It's been days between the time I took the old one off and getting a new one and I'm afraid I've forgotten how I took it off. Everything online is for either a newer LT model or D model. I need the older plain 160 model.
Amazon.com: john deere d160 deck belt John Deere Original Equipment V-Belt #GX21833. Amazon's Choicefor john deere d160 deck belt. GX21833 GX20571 Genuine JOHN DEERE OEM MOWER BELT 48" 100 SERIES.
John Deere Lt160 Drive Belt Diagram - Wiring Diagram Source Thank you john deere lt155 drive belt diagram. The john deere 160 riding lawnmower uses a double blade mowing deck for cutting grass. Page 1 2. John deere lt160 belt diagram john deere lt160 mower deck replacement is one of the best gallery pictures in house of price.
Putting the drive belt back on Deere 160 after putting the We have a John Deere x334, 4 wheel turn, 48" lawn mower that the drive belt broke on while we I am looking for a diagram of how to put on a mower deck drive belt on a John Deere 160 mower How do I replace the long upper drive belt on my John Deere 160 mower. Not the belts on the...
OPERATION AND SERVICE MANUAL 6081 OEM Diesel | Manualzz John Deere OEM Engines. These accessories may be provided by the equipment manufacturer instead of. Utilisateurs De Moteurs John Deere: N'attendez pas d'eˆtre oblige´ d'avoir recours a votre. Concessionnaire ou Point de Service le plus proche pour vous adresser a lui.
John deere 160 drive belt diagram - Fixya john deere stx38 mower deck belt diagram Google Search. Please help me understand the question. Are you looking for a diagram of the deck drive belt or the transmission belt? I have attached both but would be happy to answer further questions.

8TEN Spindle Assembly for John Deere 38 inch Deck 111H 112L 116H 160 165 170 175 240 AM108925 2 Pack
John Deere Belt Sizes Belt sizes for John Deere lawn and garden belts. Application, parts number, and belt sizes available. M90958. Mower Drive Belt (1/2"x55"). 160. M82462. Mower secondary(1/2"x66").
John Deere 160 belt diagram | Ask Me Help Desk The belt driving the mower blades on our John Deere 160 (38" mower deck) has come off the pulleys. Please provide a diagram that shows how the belt is to be routed through the pulleys. Thank you, John.
John Deere Model 160 Lawn Tractor Parts John Deere Belt Guide. John Deere Lawn Tractor Parts. Model 160.
PDF PowerTech ™ 4.5L Moline, Illinois All rights reserved A John Deere ILLUSTRUCTION® Manual Previous Editions Copyright © 1996, 1998, 2000, 2002, 2004, 2005. Inquire on the proper way to recycle or dispose of waste from your local environmental or recycling center, or from your John Deere dealer.
I need the belt routing diagram for a John Deere - Fixya Jul 7, 2009 — I need the belt routing diagram for a John Deere 160 lawn tractor. - Garden question.
TractorData.com John Deere 160 tractor information John Deere 160 Engine. 12.5HP Kawasaki 460cc 1-cyl gasoline. Fuel tank. 160 Serial Numbers. Location: Serial number plate on the left side of the tractor frame, above the front axle.
34 John Deere 160 Lawn Tractor Parts Diagram - Wiring Diagram List John Deere Lt160 Parts Diagram - Car Diagram Images. John deere repair service manual - The Best Manuals Online. John Deere 160 Lawn Mower Belt Diagram. Parts. Wiring. This video shows how to replace the deck belt on an lt2000 tractor but this also applies to the lt1000 and many...
E160 Owner Information | Parts & Service | John Deere US John Deere provides one of the best warranties in the business. And with PowerGard™ Protection Plan, you can purchase additional protection beyond the normal factory warranty term. For commercial use, please contact your John Deere Dealer.
Google Search the world's information, including webpages, images, videos and more. Google has many special features to help you find exactly what you're looking for.
videopsiche.it 24/02/2022 · [email protected] Zero turn mowers vary in price based on their size, grade, and other features, but you can typically expect to spend between ,500 and ,000. Yes, by using this method you can adjust the steering of all similar models like the Husqvarna, Troy Bilt, Toro, and Cub Cadet zero-turn mowers. 7 to 3.
John Deere 160 Lawn Tractor Belt Diagram 9 Images - Sabre John... John Deere 160 Lawn Tractor Belt Diagram. Here are a number of highest rated John Deere 160 Lawn Tractor Belt Diagram pictures on internet. We identified it from reliable source. Its submitted by dealing out in the best field.
PDF John Deere 160 Belt Diagram Manual John Deere LT160 Auto Drive Belt - out doorpowerinfo.com Buy Genuine OEM John Deere parts for your John Deere LT160 LAWN TRACTOR and ship today! john deere 160 lawn tractor parts diagram complete with the description of the image, please find the image you need.
Comments
Post a Comment